I may ask you the same thing.Why did you allow your persecution complex make you delusional?
Follow along with the video below to see how to install our site as a web app on your home screen.
Note: This feature may not be available in some browsers.
I may ask you the same thing.Why did you allow your persecution complex make you delusional?
What a total bunch of fantasy bullshit. Facts do not support your statement. Here are the FACTS:After 4 years of incredible successes of the Trump administration, all despite constant Democrat obstruction and harrassment, everybody in America should agree that the current president of the United States should be Donald Trump.
This is especially true in light of the 2 disasters we have occupying the White House right now (Biden & Harris). But even putting that aside, I just dont understand what it is that the Trump haters have against this man, who made our country great again, after 8 miserable years of racial turmoil, the rise of ISIS, and economic decline of the Obama administration.
Mystifying.![]()
I agree MAGA is absolutely not the problem, although not perfect, but in no way are we like the Democrat's.You retards ALWAYS take what Trump says either verbatim or out of context twisting his words into your own contrived nightmares.
ALWAYS!!!!!!
You terminal TDS foamer psychopaths are out of you minds clouded with seething HATRED, and you don't really know why. You are THOUGHTLESS specters, NPC''s for your wretched party and hate ANYONE that goes against your MARXIST agenda.
You FREAKS are the PROBLEM, not Trump, not MAGA, and not the NORMAL People that love our country and Constitution.
And then there was the Immigration Act of 1965.I agree MAGA is absolutely not the problem, although not perfect, but in no way are we like the Democrat's.
Back in the early times, and all the way up to the 50's, some in the 60's, and in the 80's, it was that most Americans had their brother and sister Americans backs, whether it was during war time or peace time, Americans remain Americans through it all.
Facts certainly DO support me (and Trump)What a total bunch of fantasy bullshit. Facts do not support your statement. Here are the FACTS:
View attachment 1014920
First of all, your statement was that "Trump was the best president ever" and yet your reply talks about Obama. Obama did have problems from the very start because he never had the House and the Senate in his favor and his color also prevented many Whites from ever doing anything he suggested. As such, Obama's economy numbers were not great either. On top of that, he inherited a recession, which also prevented his numbers from being great.Facts certainly DO support me (and Trump)
I said Trump "made our country great again", after... "economic decline of the Obama administration."
Here are the FACTS of that "economic decline of the Obama administration" (2015/2016), first with his sinking GDPs bundled into 3 pitiful, consecutive recessions.
3.5.....2.6.....2.2
2.6.....2.2.....1.8
2.2....1.8......1.4
And secondly, as I said, right after this, Trump "made our country great again", with consistently rising GDPs in 2017/2018.
2.1.....2.2.....2.4.....2.7.....3.1.....3.3
This is the infamous V-GRAPH never shown on leftwing OMISSION media, and shown 100 times on right wing media.
View attachment 1014933
View attachment 1014938
I may ask you the same thing
It will help those with debt but how will it help curb inflation? Do tellI am not being persecuted. Are you being persecuted today by the Fed right now? Jesus Christ, They dropped half a point on the fed interest rate two months before the election which will help every single American from poorest to richest but it won’t help Don Trump and the rest of his MAGA coat tails to win elections.
And now the MAGA Quechan complex of having an election stolen from them is in full gear
Trump and his allies are crying “election interference” over the Federal Reserve’s decision to slash interest ratesBY NIKKI MCCANN RAMIREZSEPTEMBER 19, 2024![]()
Republicans Are Livid About ... the Fed Lowering Interest Rates
Donald Trump and Republicans accused the Federal Reserve of election interference after the central bank slashed interest rates.www.rollingstone.com
Pathetic MAGA victimhood 24 ******* seven
It will help those with debt but how will it help curb inflation? Do tell
as far as I know 50 + 50 = 100. Until you can post where that isn't so, the statement about bad math means absolutely nothing in this conversation and that post should be deleted.
![]()
Why Did Georgia, Pennsylvania Centers Pause Vote Counting?
Populous counties in Pennsylvania and Georgia, two major battleground states, halted their election counting without immediate explanations on Nov. 3.dailycaller.com
Allegheny, Pennsylvania, the second-most populous county in the state, ceased ballot counting at approximately 1:30 a.m. on Nov. 4 and was said to resume at 10 a.m. this morning, according to The Hill. Pennsylvania carries 20 electoral votes and is considered a must-win for President Donald Trump, The Hill reported.
Fulton County, Georgia, halted ballot-counting on Nov. 3 after a pipe burst in a major polling center around 6:00 a.m., according to the North Fulton Neighbor. The pipe was repaired and counting resumed hours later, but it has still not been revealed why county authorities made the call to stop counts since the polling center was operational following the incident, the local outlet reported.
Hmmmmm HALTED
the answer was 50 50 and that totals 100%. again, you can't seem to explain why you claimed bad math? Why did you do that?
:Wow, now that was absolutely amazing...It is because you are so God damn stupid that you hateView attachment 1014279
It is exactly "election rigging" by way of using the available tools that were already sitting there at hand prior (but nothing was being done), in order too bribe the people for their votes at the last desperate minute, and this is done by making changes that should have been made way before someone's hand was being called on them.The targeted inflation rate is 2.0. We are now very close to that.. The only reason that the interest rate is being reduced two months before the election is the Fed is confident inflation has been stopped Without needing to go through the hit of a recession.
It is a remarkable achievement that the Biden administration accomplished actually
Biden took the inflation that Trump helped create and resolved it with a soft landing.
Aren’t you going to write a post Aning that the fed is stealing the election from Don Trump?
So when he loses all you MAGA voters will be victims crying that the election was stolen from you. Is that right?
If it's a lie, then who started it ? Hillary started the Russian hoax and the birther bull chit movement, and yes Republicans sadly took the bait by repeating it, but the origins just like "gain of function" need to be gotten to the bottom of pronto. Being manipulated too take ones eye off of the ball is an age old political tactic that the Democrat's are attempting to master as a political party.ask JD.... he seems to be pushing that lie... & yer chosen one is parroting it.
It is exactly "election rigging" by way of using the available tools that were already sitting there at hand prior (but nothing was being done), in order too bribe the people for their votes at the last desperate minute, and this is done by making changes that should have been made way before someone's hand was being called on them.
Not only do we see this going on in an egregious and arrogant way, but it's being done in such a blatant way that no other conclusions can be drawn from it all.
It is exactly "election rigging" by way of using the available tools that were already sitting there at hand prior (but nothing was being done), in order too bribe the people for their votes at the last desperate minute, and this is done by making changes that should have been made way before someone's hand was being called on them.
Not only do we see this going on in an egregious and arrogant way, but it's being done in such a blatant way that no other conclusions can be drawn from it all.
Leftists want to create a shit hole where our great country once thrived. They do it by lying to their ignorant masses and controlling the media. They rely on the empty headed masses who only care about themselves and what pleases them. It's a created ignorance that has spread.Wow, now that was absolutely amazing...
I had forgotten so much, but that list brought back so many memories as well as the knowledge of exactly what it is that we in this nation are dealing with. We are dealing with an MSM that is either on the take or in the tank for the left.
I agree MAGA is absolutely not the problem, although not perfect, but in no way are we like the Democrats.
Back in the early times, and all the way up to the 50's, some in the 60's, and in the 80's, it was that most Americans had their brother and sister Americans backs, whether it was during war time or peace time, Americans remain Americans through it all.
Bullshit! I was born and raised in Iowa! I know when people say something like that which is so important at the time
you don't assume you tell the truth! The simple answer would be, "let's let SCOTUS determine it and will halt the count of the electoral votes for those 7 states"!
Such a simple answer but HE made the decision! Not Trump! Not SCOTUS but RINO Pence!
And now today... did you read this?
Texas removes 1 million people from voter rolls
These reforms have led to the removal of over one million ineligible people from our voter rolls in the last three years, including noncitizens, deceased voters, and people who moved to another state,” Abbott said.
“Illegal voting in Texas will never be tolerated. We will continue to actively safeguard Texans’ sacred right to vote while also aggressively protecting our elections from illegal voting.”
About half of the voters removed have died, requested to be be taken off or are living in another state, based on figures from the governor’s office. Nearly 7,000 were noncitizens who had registered illegally, and about 6,000 were convicted felons unable to vote.
In Virginia, for example, more than 11,000 aliens were initially listed on the state’s voter roll within the past decade.
In New Jersey, at least 616 known aliens ended up in the state’s voter registration system just a few years ago.
Since 2021, nearly 200 aliens were initially on voter rolls in Arizona
![]()
Illegal Aliens Are Still Voting in Our Elections
Having laws on the books does not guarantee their compliance. Take a state speed limit. Posting a sign saying it’s 65 mph does not guarantee drivers will adhere to that speed. In fact, most of them won’t. We see the same type of situation when it comes to people residing in the United States who...www.heritage.org
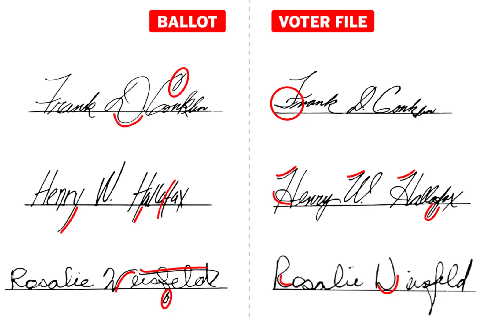
As a consequence of "MAIL-Ballots"
within 1 minute tell me which of these set of 3 signatures are valid?
View attachment 1010647
You retards ALWAYS take what Trump says either verbatim or out of context twisting his words into your own contrived nightmares.
ALWAYS!!!!!!
You terminal TDS foamer psychopaths are out of you minds clouded with seething HATRED, and you don't really know why. You are THOUGHTLESS specters, NPC''s for your wretched party and hate ANYONE that goes against your MARXIST agenda.
You FREAKS are the PROBLEM, not Trump, not MAGA, and not the NORMAL People that love our country and Constitution.
He's your Daddy.Trump can't communicate. He's playing game show host.
