How to Steal an Election: Mail-In Ballots

no it isnt.....when you request one that means your name is up to date in the voter register.....there are lots of people who move and the register has no idea they did but because they are still on the list they will get one too........
A mail in vote is the same whether you request it or not.
Outside of a few Republicans who voted for dead people, there are few instances of voter fraud
 
There's a reason why the left wants everyone to vote by mail.

It makes it easier to steal elections. Ask Dino Rossi.
 

How to Steal an Election: Mail-In Ballots​

What’s the difference between absentee balloting and universal mail-in balloting? The latter might sound like a great idea, but is it really? Eric Eggers of the Government Accountability Institute answers this vitally important question.

OP Comment: The answer is to go back to the Constitution: "Congress sets a national Election Day. Currently, electors are chosen on the Tuesday following the first Monday in November (the first Tuesday after November 1), in the year before the president's term is to expire." That's it and no more. No early voting, no mail in voting, none of that invented bullshit. On the Tuesday following the first Monday in November you go in, show your ID, and vote.


Your distinction is so correct! That's why I coined the phrase "JUNK MAIL Voting"!
I've done absentee voting for several years and I'm fully confident that the steps involved:
1) I request using a form that is used to match my signature with
2) the ballot that is mailed to me along with a signature form that is matched to my original request form.

BUT JUNK MAIL Voting allows BALLOTS to be mailed to all addresses that are on the voting registration rolls
FIRST....
Then the returned ballot signature form compared at that time with driver's license or some other
form...totally allowing THIS to happen!
That's why in person voting MOST secured, Mail in ballots, 2nd and the least secured "JUNK MAIL voting"!
Now some people don't believe mass ballot mailings occur. FACTS.
Eight states – California, Colorado, Hawaii, Nevada, Oregon, Utah, Vermont, and Washington – conduct what are commonly referred to as all-mail elections.
These states did ---Automatic mail-in ballot systems mandate that all eligible voters receive either a ballot or ballot application by default.
I.E. "JUNK MAIL Voting"! Everyone on the voting rolls gets a ballot... alive or dead!
VS.. the better and more secure method:
Automatic mail-in ballot applications: Officials automatically transmit mail-in ballot applications to all eligible voters. A voter must in turn submit a completed application in order to receive a ballot.

Orign_voter_signatures.webp
 
Your distinction is so correct! That's why I coined the phrase "JUNK MAIL Voting"!
I've done absentee voting for several years and I'm fully confident that the steps involved:
1) I request using a form that is used to match my signature with
2) the ballot that is mailed to me along with a signature form that is matched to my original request form.

BUT JUNK MAIL Voting allows BALLOTS to be mailed to all addresses that are on the voting registration rolls
FIRST....
Then the returned ballot signature form compared at that time with driver's license or some other
form...totally allowing THIS to happen!
That's why in person voting MOST secured, Mail in ballots, 2nd and the least secured "JUNK MAIL voting"!
Now some people don't believe mass ballot mailings occur. FACTS.
Eight states – California, Colorado, Hawaii, Nevada, Oregon, Utah, Vermont, and Washington – conduct what are commonly referred to as all-mail elections.
These states did ---Automatic mail-in ballot systems mandate that all eligible voters receive either a ballot or ballot application by default.
I.E. "JUNK MAIL Voting"! Everyone on the voting rolls gets a ballot... alive or dead!
VS.. the better and more secure method:
Automatic mail-in ballot applications: Officials automatically transmit mail-in ballot applications to all eligible voters. A voter must in turn submit a completed application in order to receive a ballot.

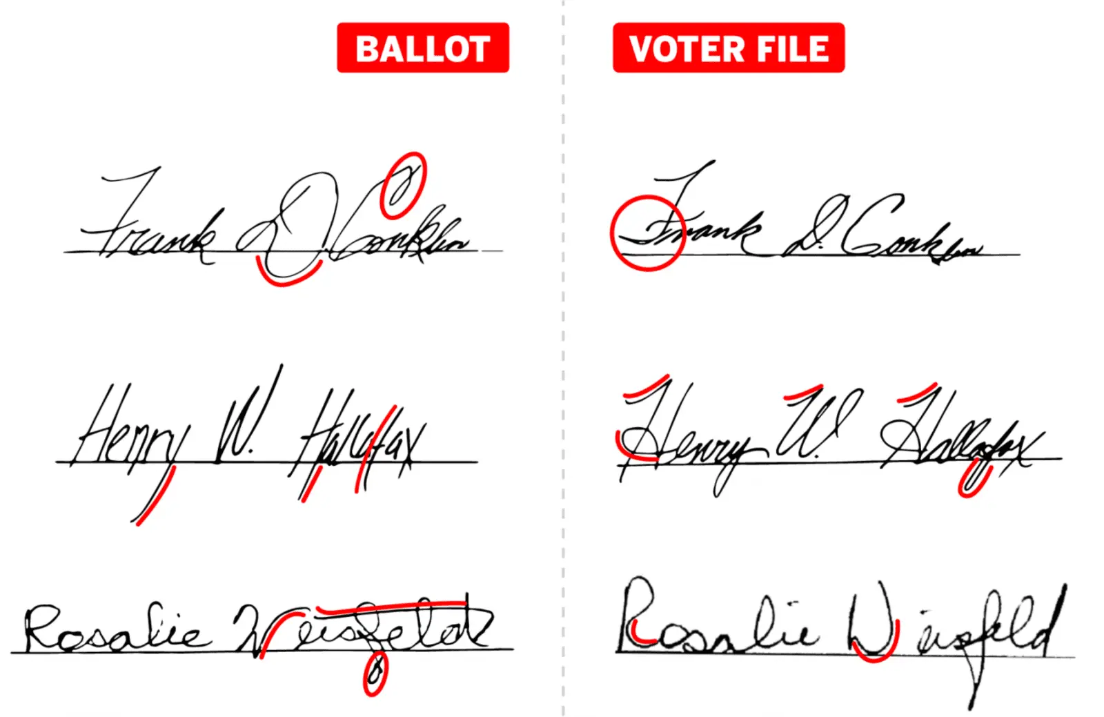
View attachment 569014
which shows why the signatures of mail in votes are checked against signatures on file
 
It is up to the States to determine how to run their elections

2020 had the most mail in votes in history, more Americans voted than anytime in history and 2020 was the most honestly conducted election in history
And that's exactly what the far right hates.....that the vote is there for everyone.....especially minorities and women. Gods! the GOP hates that!
 
75 years ago is the best you got?

KKK embraces Republicanism TODAY!
Right down to the MAGA hats
It's hard to believe anyone is stupid enough to fall for this fallacy. The sylogism goes as follows: If A endorses B, that means B endorses A.

Posting anything based on that "logic" is proof that you're an irrational moron.
 
And that's exactly what the far right hates.....that the vote is there for everyone.....especially minorities and women. Gods! the GOP hates that!

Republicans were shocked at the number of people that voted in 2020

Just look at all the laws they passed to restrict the vote
 
While it is incredibly dumb, so was trying to blame Trump's win on Russia.

I love how you always misstate the effect of Russian interference.

Are you saying the emails stolen from the DNC and released through WikiLeaks had no effect on the election at all? Donald Trump couldn't stop talking about those emails.

What about the Russian propaganda that Hillary had Parkinsons? Or took bribes from the Russians. And all of those faked videos showing her supposed inability to talk properly because of her poor health. Kind of like how Joe Biden has dementia, don't you think?

The Russians used a massive disinformation campaign on FaceBook, and throughout social media promoting the idea that Hillary was "dangerous", mentally unbalanced, and a criminal. All of which was echoed by Donald Trump. Hell, the DNC hack took place the very day that Trump said "Russia, if you're listening".

Those of us who actually read the Mueller Report know what happened. You continue to deny, deny, deny.
 
And that's exactly what the far right hates.....that the vote is there for everyone.....especially minorities and women. Gods! the GOP hates that!
Yep, I hate it when morons like you can vote. That's the essential flaw of democracy.
 
A mail in vote is the same whether you request it or not.
Outside of a few Republicans who voted for dead people, there are few instances of voter fraud
thats what you are being told.....a requested one is the voter verifying his add....the other ones could be out of date...... could be dead....live in other states....could have bad addresses....moved left no address is a big one.....apartments get these kinds in droves.....many just have no apt number....lots of unknowns in apts....
 
15th post
Demonicrats use victim roles to exploit all everything. In the case of voting, "Republicans don't want people to vote" and "every vote must count".

Every vote must count sure sounds neat, but what it really means is liberal voting methods to ensure a democrat victory of some sort. Propaganda aimed to dumb us down isn't quite enough to ensure those victories, so cheat or be beat is their calling too.

Of course mail-in ballots ensured a "win", combined with manipulations and anomalies, such as soliciting ballots door to door. Here's an ice cream, don't you think you should vote for Biden? Mail-in ballots ensured the dumbest & laziest among us would vote Democrat. Now they want inmates to vote too in the name of victimization.

Without victim cards and especially propaganda of which the left controls through miss education and all media the left simply does not exist, because all left methods contradict common sense.
 
Back
Top Bottom