Would someone care to explain this ...

Yes. It's been explained more than once here. It never happened.
Right because a libber source or link said it didn't right?

No, because it didn't. Wisconsin allows same day registration.
So what you are saying is that the original total was before the voting... then the same day the person registered, they were able to vote. That would mean the registration total would be updated daily but your explanation is that the total registration was not including those that registered and voted that day. Sounds reasonable that the voting personnel didn't get the totals to the news paper that totaled registration BUT were able to get the vote totals to the minute.
Hmmm....
 
They are stealing this election and if they succeed they will be governing over folks that never voted for them....its sick.....
They only succeed if we allow them to get away with it. This is going to the courts & Trump has the best & brightest on this. Dems have ideologues. I like our chances here
I wish I had your confidence...but I've seen dems steal senate and house seats with this same tactic of finding and counting votes that do not exist...they got away with it nationally this year by using covid to change voting rules....no I'm afraid Trump is toast...
 
Note that the below vote tally showed some oddities.
How can a Voting Ward (274) with 640 registered votes have 1,290 votes... 688 votes for Biden -- 602 Trump
or Ward 272 with 1,123 registered voters BUT 772 votes Biden... 633 Trump or 1,405 total or 282 more votes than voters?
Some one care to explain?



View attachment 411602
Yeah, here you go:

 
I wish I had your confidence...but I've seen dems steal senate and house seats with this same tactic of finding and counting votes that do not exist...they got away with it nationally this year by using covid to change voting rules....no I'm afraid Trump is toast...
Yet you can’t exactly show us a case of it happening

Fact is…..It Can’t Happen
”Found Votes” are to easy to catch
 
Yet you can’t exactly show us a case of it happening

Fact is…..It Can’t Happen
”Found Votes” are to easy to catch
When jurisdictions in blue cities refuse to turn over court ordered election data there is little we can do until the next election....and its coming very soon.....you are going to be shocked....
 
When jurisdictions in blue cities refuse to turn over court ordered election data there is little we can do until the next election....and its coming very soon.....you are going to be shocked....

All required data is available by law

Show how anyone can dump ballots in the system without it being detected

Cant be done
 
All required data is available by law

Show how anyone can dump ballots in the system without it being detected

Cant be done
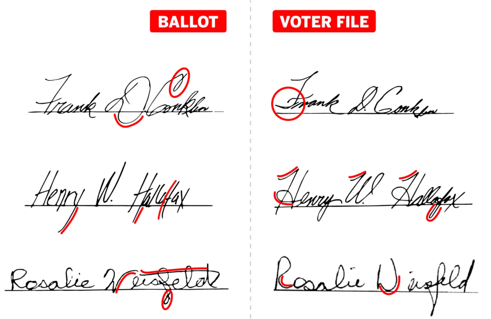
Which signature is valid?
Orign_voter_signatures.webp
 
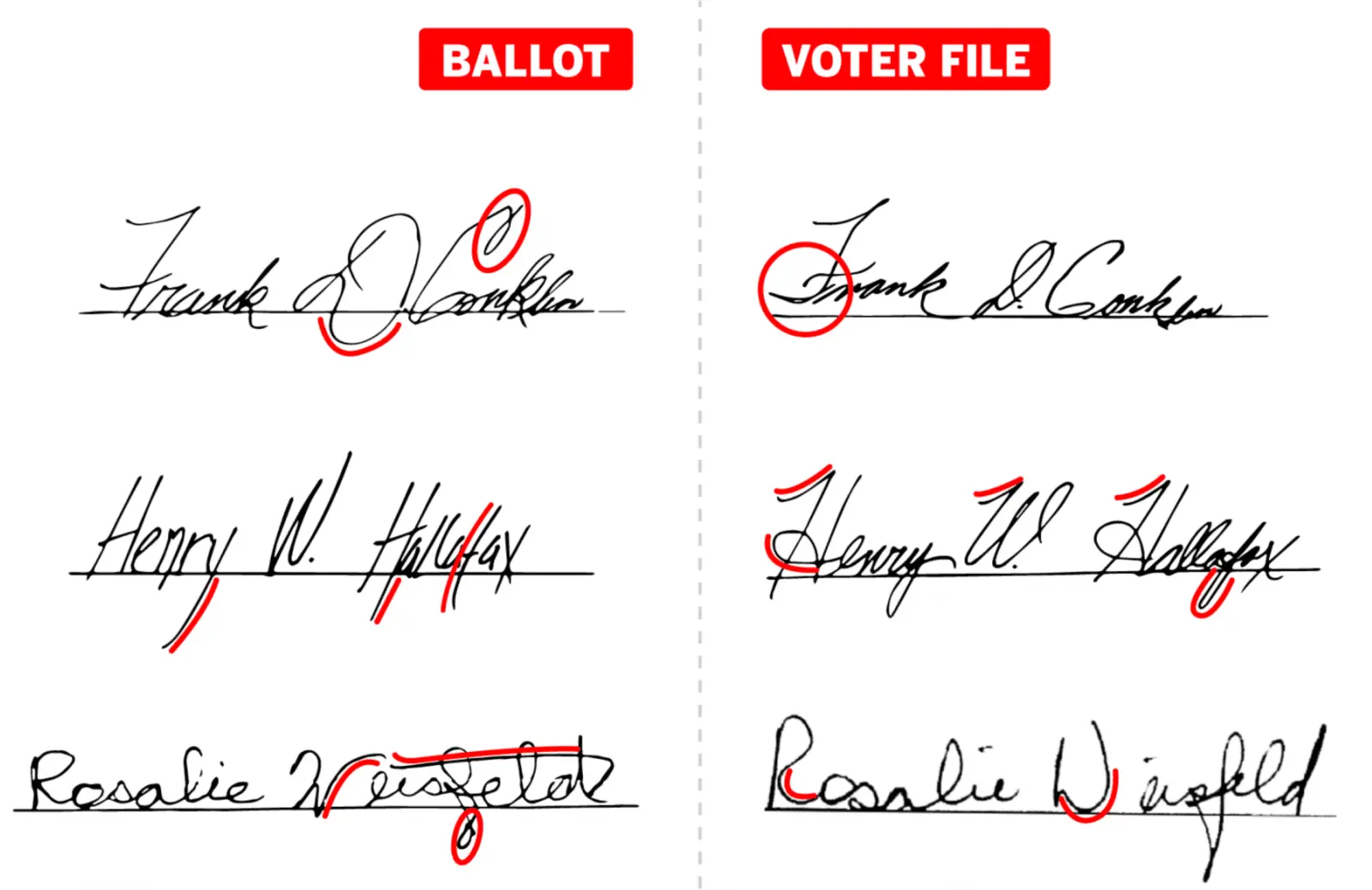
Which signature is valid?
View attachment 554554
That is why we require signatures
Any questionable signature can be challenged. Generally, the voter is questioned as to whether they had cast that ballot

Now, show me how thousands of fake ballots can be dumped on the system without detection
 
Back
Top Bottom