Proof of the Pythagorean Theorem another go

catatomic

Gold Member
Joined
Nov 28, 2012
Messages
1,125
Reaction score
335
Points
198
Previous attempt I just proved the pythagorean theorem
1752394827925.webp

1752394836117.webp

In fig. 1, x is defined so that ax+ax+x2 = b2, and in fig. 2 y is defined so that by+by+y2=a2.

Fig. 1 and Fig. 2 have the same area a2+b2, and they are square, so they have the same edges in each and together. a2+02=c2 and 02+02=02 are trivial. The edges are all a+x or b+y.

Fig. 3 and 4 suggest c=a+x and c=b+y.

c will fit in the square because a and b fit in the square (fig. 5). WLOG (without loss of generality) c can connect edges. We can connect adjacent edges like fig. 6, have an edge like fig. 7, or connect opposite edges like fig. 8. In the case of figure 6 we can have those edges be a and b.

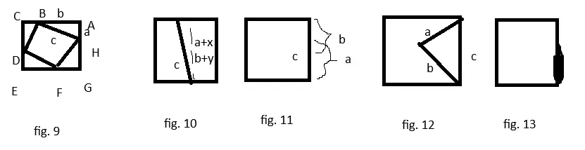
In fig. 6 we want each triangle to be a and b and to be the same size so it stretches around perfectly. Note that c2 < the total square area. This means that c2 < a2 + b2 but we need to prove that impossible. See fig. 9. BC will be y. GH will be x so that CD will be x. So BC= a and y and CD = b and x. Note that x2 < b2 and y2 < a2 so that x2+y2 < a2+b2 but they are also equal. a2+b2 < a2 + b2, a contradiction. Then c2 is not less than a2+b2.

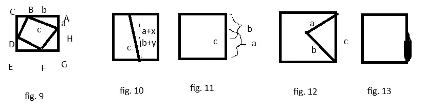
Next we try fig. 10. This time it stretches past the length of an edge of the big square. One side will be a+x and b+y, so it will be bigger than a and bigger than b. That means we don’t have to consider it since it cannot be a and b.

What if we bend that c to fit on adjacent sides?

Using fig. 9,we have the same problem. So c2 is not greater than a2+b2. We can also try to bend a c that fits two adjacent sides to across and then the problem with going across occurs.

Then c2 is not greater than a2+b2

The only thing left is that c is a side of the big square or parallel to it.

c2 = a2+b2 or if we look at (a+x)2 and (b+y)2 together we also get 2c2 = 2a2+2b2. It will look like figs. 11 and 12. Note that in fig. 12 it won’t be the same as like fig. 9 (it won’t stretch around evenly).
 
Pythagoras, who a born about 570 BC, will be happy to learn you have proven his theorem. It's amazing that the hundreds, or even thousands of times it has been proven true just didn't get it right, but you did.
 
Consider the proof that pi =4 which nobody has been able to disprove .
No wonder Miles scares the CIA .


The Extinction of π

by Miles Mathis
The ratio of 1" diameter circle's circumference to it's diameter is 3.14159....
I jut disproved your claim
 
Dude, you might as well just stay in school. :oops:
Don't be operating machinery or anything.
 
Bulldog said my proof was correct. Does anyone else want to weigh in on what they think about my proof?
 
Bulldog said my proof was correct. Does anyone else want to weigh in on what they think about my proof?
Perhaps I should have worded my remark more carefully. I have no idea if your proof is correct, and I'm not interested in grading your work. That theorem has garnered several proofs over the centuries, and one more wouldn't surprise me.
 
I have made it easier to understand. I would like feedback:

slide a.webp

slide b.webp

The arguments are generally next to each other.

In fig. 1, x is defined so that ax+ax+x2 = b2, and in fig. 2 y is defined so that by+by+y2=a2.

Fig. 1 and Fig. 2 have the same area a2+b2, and they are square, so they have the same edges in each and together. a2+02=c2 and 02+02=02 are trivial. The edges are all a+x and b+y.

Fig. 3 and 4 suggest c=a+x and c=b+y, but you can ignore this.

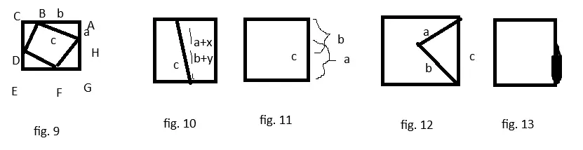
c will fit in the square because a and b fit in the square (fig. 5). WLOG (without loss of generality) c can connect edges. We can connect adjacent edges like fig. 6, have an edge like fig. 7, connect opposite edges like fig. 8, or have part of an edge like fig. 13. In the case of figure 6 we can have those edges be a and b. Usually the edges c connects make a and b to the point of c (like triangle ABH in figure 9).

In fig. 6 we want each triangle to have lengths a and b and to be the same size so it stretches around perfectly. See fig. 9. BH will have slope -a/b and BD b/a so they are perpendicular. They are also congruent. BC, DE and FG are a and CD, EF and GH are b. This will create c2 as the middle square and c2< the total square area (because there’s space left over), so we will be able to check if c2 < a2 + b2 is possible. BC will be y because AC is b+y and AB is b. Likewise GH will be x so that CD will be x. So BC= a and y and CD = b and x. Note that x2 < b2 (because b2 = ax+ax+x2 ) and y2 < a2 (because a2 = by+by+y2) so that x2+y2 < a2+b2 but they are also equal (because BC = a and y and CD = b and x like we mentioned two lines up). a2+b2 < a2 + b2, a contradiction. Then c2 is not less than a2+b2.

Next we try fig. 10. This time it stretches past the length of an edge of the big square. One side will be a+x and b+y, so it will be bigger than a and bigger than b. That means we don’t have to consider it since it cannot be a and b.

Then c2 is not greater than a2+b2.

We don’t normally have to worry about bending c so that it’s in a different category or different; all cs will be tried.

The only thing left is that c is a side or partial side of the big square or parallel to it.

In fig. 13 c is a part of a side of the square. If c < a+x it could be less than a or b. Or importantly we can show that it won’t fit going across (adjacent sides) with the same a and b as normal legs. c might not match and a and b but it has to but it doesn’t but we don’t know that, so we apply the same argument with fig. 9. c2 will be given as < a2+b2 because that is the whole square and c has a length less than it’s side (c < a+x and a2+b2 we should know is (a+x)2 see fig. 1 and fig. 2).

All that’s left is c = a+x = b+y, one complete side. c2 = a2+b2 or if we look at (a+x)2 and (b+y)2 together we also get 2c2 = 2a2+2b2 (c2 = ax+ax+x2+a2 = a2+b2 and c2 = by+by+y2+b2 = a2+b2). It will look like figs. 11 and 12. Note that in fig. 12 it won’t be the same as like fig. 9 (it won’t stretch around evenly).
 
I have made it easier to understand. I would like feedback:

View attachment 1135994
View attachment 1135995
The arguments are generally next to each other.

In fig. 1, x is defined so that ax+ax+x2 = b2, and in fig. 2 y is defined so that by+by+y2=a2.

Fig. 1 and Fig. 2 have the same area a2+b2, and they are square, so they have the same edges in each and together. a2+02=c2 and 02+02=02 are trivial. The edges are all a+x and b+y.

Fig. 3 and 4 suggest c=a+x and c=b+y, but you can ignore this.

c will fit in the square because a and b fit in the square (fig. 5). WLOG (without loss of generality) c can connect edges. We can connect adjacent edges like fig. 6, have an edge like fig. 7, connect opposite edges like fig. 8, or have part of an edge like fig. 13. In the case of figure 6 we can have those edges be a and b. Usually the edges c connects make a and b to the point of c (like triangle ABH in figure 9).

In fig. 6 we want each triangle to have lengths a and b and to be the same size so it stretches around perfectly. See fig. 9. BH will have slope -a/b and BD b/a so they are perpendicular. They are also congruent. BC, DE and FG are a and CD, EF and GH are b. This will create c2 as the middle square and c2< the total square area (because there’s space left over), so we will be able to check if c2 < a2 + b2 is possible. BC will be y because AC is b+y and AB is b. Likewise GH will be x so that CD will be x. So BC= a and y and CD = b and x. Note that x2 < b2 (because b2 = ax+ax+x2 ) and y2 < a2 (because a2 = by+by+y2) so that x2+y2 < a2+b2 but they are also equal (because BC = a and y and CD = b and x like we mentioned two lines up). a2+b2 < a2 + b2, a contradiction. Then c2 is not less than a2+b2.

Next we try fig. 10. This time it stretches past the length of an edge of the big square. One side will be a+x and b+y, so it will be bigger than a and bigger than b. That means we don’t have to consider it since it cannot be a and b.

Then c2 is not greater than a2+b2.

We don’t normally have to worry about bending c so that it’s in a different category or different; all cs will be tried.

The only thing left is that c is a side or partial side of the big square or parallel to it.

In fig. 13 c is a part of a side of the square. If c < a+x it could be less than a or b. Or importantly we can show that it won’t fit going across (adjacent sides) with the same a and b as normal legs. c might not match and a and b but it has to but it doesn’t but we don’t know that, so we apply the same argument with fig. 9. c2 will be given as < a2+b2 because that is the whole square and c has a length less than it’s side (c < a+x and a2+b2 we should know is (a+x)2 see fig. 1 and fig. 2).

All that’s left is c = a+x = b+y, one complete side. c2 = a2+b2 or if we look at (a+x)2 and (b+y)2 together we also get 2c2 = 2a2+2b2 (c2 = ax+ax+x2+a2 = a2+b2 and c2 = by+by+y2+b2 = a2+b2). It will look like figs. 11 and 12. Note that in fig. 12 it won’t be the same as like fig. 9 (it won’t stretch around evenly).
As a former math teacher, I would suggest you go back to the drawing board because you just went to Philly from NY by way of San Francisco.

Nice cut and paste job, BTW.
 
As a former math teacher, I would suggest you go back to the drawing board because you just went to Philly from NY by way of San Francisco.

Nice cut and paste job, BTW.
I did it myself.

I have a master's in mathematics, 7 years of teaching and a perfect in math on the SAT, ACT and GRE.

But I could be rusty.

I would like to know where I messed up. I believe you.
 
I did it myself.

I have a master's in mathematics, 7 years of teaching and a perfect in math on the SAT, ACT and GRE.

But I could be rusty.

I would like to know where I messed up. I believe you.

Tell another lie. If that were true, you would not have such shoddy looking work. Why didn't you just Google and you'll find lots of simpler examples?
 
Tell another lie. If that were true, you would not have such shoddy looking work. Why didn't you just Google and you'll find lots of simpler examples?
It's true. It's just hard to prove the Pythagorean theorem. Still waiting for you to show me wrong.
 
Hard to do an original proof. Anyway be careful with my proof it's tricky.
 
15th post
The arguments are generally next to each other.

In fig. 1, x is defined so that ax+ax+x2 = b2, and in fig. 2 y is defined so that by+by+y2=a2.

Fig. 1 and Fig. 2 have the same area a2+b2, and they are square, so they have the same edges in each and together. a2+02=c2 and 02+02=02 are trivial. The edges are all a+x and b+y.

Fig. 3 and 4 suggest c=a+x and c=b+y, but you can ignore this.

c will fit in the square because a and b fit in the square (fig. 5). WLOG (without loss of generality) c can connect edges. We can connect adjacent edges like fig. 6, have an edge like fig. 7, connect opposite edges like fig. 8, or have part of an edge like fig. 13. In the case of figure 6 we can have those edges be a and b. Usually the edges c connects make a and b to the point of c (like triangle ABH in figure 9).

For fig. 6, we can try 2 techniques in the next 2 paragraphs. I am confident the second one works, but I don’t want to erase the first.

In fig. 6 we want each triangle to have lengths a and b and to be the same size so it stretches around perfectly. See fig. 9. BH will have slope -a/b and BD b/a so they are perpendicular. They are also congruent. BC, DE and FG are a and CD, EF and GH are b. This will create c2 as the middle square and c2< the total square area (because there’s space left over), so we will be able to check if c2 < a2 + b2 is possible. BC will be y because AC is b+y and AB is b. Likewise GH will be x so that CD will be x. So BC= a and y and CD = b and x. Note that x2 < b2 (because b2 = ax+ax+x2 ) and y2 < a2 (because a2 = by+by+y2) so that x2+y2 < a2+b2 but they are also equal (because BC = a and y and CD = b and x like we mentioned two lines up). a2+b2 < a2 + b2, a contradiction. Then c2 is not less than a2+b2.

The second technique also involves fig. 6. c will form a square in the square, and we can allow the larger square to be a2+b2 by having the sides be a+x and b+y. Then we can test c2<a2+b2. Because the c square is symmetric, all sides are a and b together as well. Hence b=x and a=y. We have the same contradiction since x2 < b2 (because b2 = ax+ax+x2 ) and y2 < a2 (because a2 = by+by+y2) so that x2+y2 < a2+b2 but they are also equal. This shows that we cannot have c2<a2+b2.


Next we try fig. 10. This time it stretches past the length of an edge of the big square. One side will be a+x and b+y, so it will be bigger than a and bigger than b. That means we don’t have to consider it since it cannot be a and b.

Then c2 is not greater than a2+b2.

We don’t normally have to worry about bending c so that it’s in a different category or different; all cs will be tried.

The only thing left is that c is a side or partial side of the big square or parallel to it.

In fig. 13 c is a part of a side of the square. If c < a+x it could be less than a or b. Or importantly we can show that it won’t fit going across (adjacent sides) with the same a and b as normal legs. c might not match and a and b but it has to but it doesn’t but we don’t know that, so we apply the same argument with fig. 9. c2 will be given as < a2+b2 because that is the whole square and c has a length less than it’s side (c < a+x and a2+b2 we should know is (a+x)2 see fig. 1 and fig. 2).

All that’s left is c = a+x = b+y, one complete side. c2 = a2+b2 or if we look at (a+x)2 and (b+y)2 together we also get 2c2 = 2a2+2b2 (c2 = ax+ax+x2+a2 = a2+b2 and c2 = by+by+y2+b2 = a2+b2). It will look like figs. 11 and 12. Note that in fig. 12 it won’t be the same as like fig. 9 (it won’t stretch around evenly).
 
Back
Top Bottom