70% of trump's endorsee's think the 2020 election was fraudulent

Look at Florida, where little trump is busy disenfranchising black voters and banning math books because he says they teach CRT. He is lining himself up for a WH run in 2024. He and TFG may need to flip a corn to see which is America's first dictator.
They are trying to teach CRT in math class, moron.

How did Florida disenfranchising black voters, by requiring them to get valid IDs?

Horrors!
 
What has the repub party come to? Their leader is demeaning and dismissing anyone in that party that tells the truth about the 2020 election. Basically, the repub party has now been reduced to a party where the Big Lie is sacred, even to the point of being called a RINO. I guess we can redefine the Grand Old Party to the Party Of Lies.
With all their legitimate recourses having fizzled - recount, audits, dozens of frivolous court challenges, etc, - and still unable to identify a single collaborator in their vast, nationwide conspiracy - or how it was pulled off - they even resorted to a goon attack on Congress that also failed.

Every Republican candidate should be required to clarify whether they respect the will of the People, the basis of democracy itself.
 
With all their legitimate recourses having fizzled - recount, audits, dozens of frivolous court challenges, etc, - and still unable to identify a single collaborator in their vast, nationwide conspiracy - or how it was pulled off - they even resorted to a goon attack on Congress that also failed.

Every Republican candidate should be required to clarify whether they respect the will of the People, the basis of democracy itself.
All trump endorsed candidates need to be asked a simple question, "Did Joe Biden win the 2020 Presidential election." They will either say he did and expect the ire of TFG...or they will lie and show who they are to voters.

But so it goes for politicians. I am sure they would sidestep the question and come up with some lame answer which says nothing.
 
Isn’t it interesting that the dimbo’s are so preoccupied with Trumpy when it is they who control both the legislative and executive branch of government, passed laws, and adopted woke policies that are systematically crushing the country on all fronts? No wonder massive change is in the wind, the little guy has had about enough of this garbage.
 

You know, we used to shy away from and even criticize liars. Now with the trump Big Lie, many are accepting them as possible representatives in our federal government. That is sad....
The problem is our eyes.
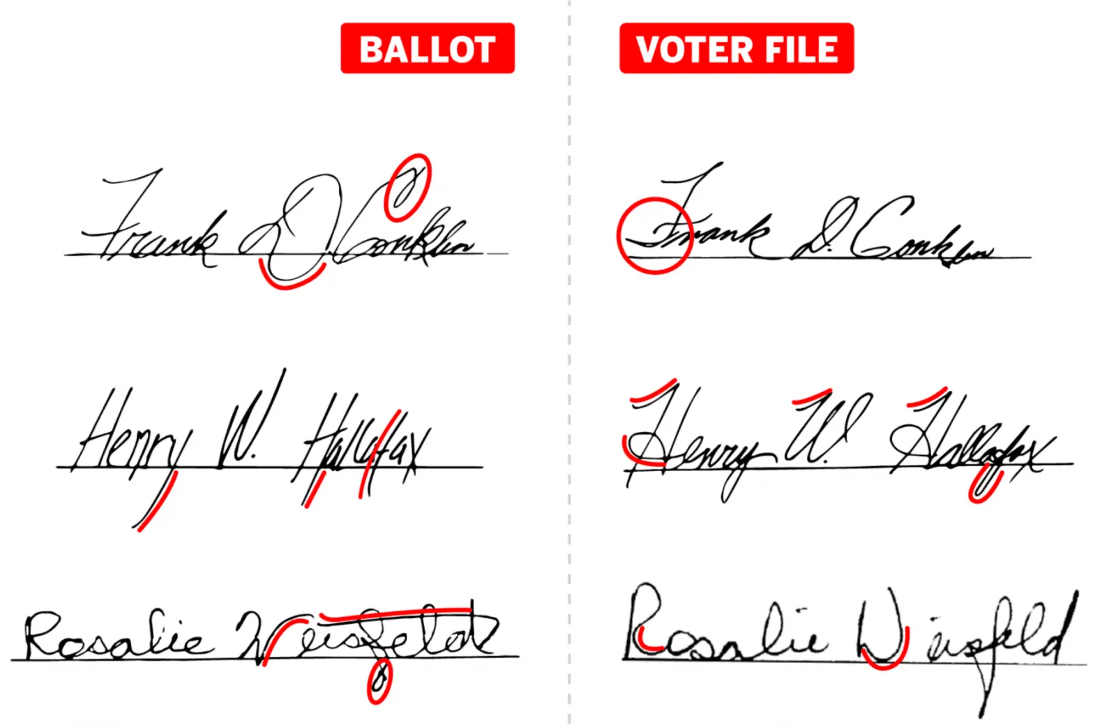
Look at the below signatures and tell me which is legitimate?
Orign_voter_signatures.webp

VoteSignaturefraud.webp


And this was done with hundreds of thousands of votes.

Screen Shot 2022-04-19 at 5.41.54 PM.webp

In 2020, 43% of voters cast ballots by mail
Biden won the electoral college vote from these states that had these mail in ballots with signatures...
In a contest with historic turnout, President-elect Joe Biden topped President Trump by nearly 7 million votes, and 74 votes in the Electoral College from these states:"just 44,000 votes in Georgia, Arizona and Wisconsin separated Biden and Trump from a tie in the Electoral College."
How many junk mail votes in these 3 states?
 

You know, we used to shy away from and even criticize liars. Now with the trump Big Lie, many are accepting them as possible representatives in our federal government. That is sad....
80 million legit votes my ass
 
All trump endorsed candidates need to be asked a simple question, "Did Joe Biden win the 2020 Presidential election." They will either say he did and expect the ire of TFG...or they will lie and show who they are to voters.

But so it goes for politicians. I am sure they would sidestep the question and come up with some lame answer which says nothing.
It is a routine question that is asked of anyone suspected of senility: "Who is the President of the United States?"

The denialists will squirm, of course, but such a simple, direct check on sentience would expose any candidates whose mental capacity is diminished.

Any who stray from reality should, of course, be given the opportunity to explain their aberrance by presenting the results of recounts, audits, and court challenges that support their delusion, identifying the details of their airy-fairy caper, including the identity of the conspirators, that tricked all fifty states and the Vice President into certifying the will of the People.
 
With all their legitimate recourses having fizzled - recount, audits, dozens of frivolous court challenges, etc, - and still unable to identify a single collaborator in their vast, nationwide conspiracy - or how it was pulled off - they even resorted to a goon attack on Congress that also failed.

Every Republican candidate should be required to clarify whether they respect the will of the People, the basis of democracy itself.

lantern2814 said:

Why not? If a candidate for public office has unsupportable contempt for democratic elections, should that not be exposed?
 

Attachments

  • Screen Shot 2022-04-20 at 7.59.13 AM.webp
    Screen Shot 2022-04-20 at 7.59.13 AM.webp
    266 bytes · Views: 24
LIAR! LIAR! LIAR!
Inane raving is not how elections are conducted.

Tabulation, recount, audit, and court challenges are all legitimate recourses that disgruntled losers have available. (Goon attacks on Congress that savage outnumbered police are not a legitimate method of challenging the democratic process.)

Every state, those run by Republicans as well as by Democrats, certified their results.

Contriving pretexts for whining is meaningless, unless deemed credible by favorable adjudications somewhere, anywhere.

Where are there such lawful challenges to the certified results?
 
Let's face it: The orange cult is just more intelligent and far better informed than the rest of the planet.

For example, take this guy. Which USMB poster would you guess this is?



Speaking of being more informed, how are your investments doing this year? Are you happy thus far with the market? Are your clients happy? You voted for the current moron and I will let you in on a little inside secret..the market is going to continue to decline with his policies in place. Yeah, you voted for the WRONG guy unless you enjoy playing the shorts.
 
Speaking of being more informed, how are your investments doing this year? Are you happy thus far with the market? Are your clients happy? You voted for the current moron and I will let you in on a little inside secret..the market is going to continue to decline with his policies in place. Yeah, you voted for the WRONG guy unless you enjoy playing the shorts.
Right, we should have voted for the guy who:
-Incited an attack on the US Capitol
-Called Pootin a Genius
-Continues to this day to deny he was defeated in November 2020

No one imagined that trump would, a year and a half later, still contend that he won the 2020 Presidential election. It is the greatest value of a constitutional democracy to recognize a smooth and peaceful transition of power. trump has destroyed that asset. He has destroy confidence in our electoral system, solely because he does not want to admit that he lost. He regularly punishes anyone who admits that Biden is President and hurls insults and slanders anyone who acknowledges that the 2020 election was fair. Even after multiple court cases and audit on top of audit proves that Biden won, trump has convince a majority of the repub party that he was cheated in November 2020.

No one has ever seen such of a display of anti-democracy in the United States before. And still, the repub party says, "He is our man if he runs again in 2024." They really want to see the man who tried and is still trying to destroy our electoral system in the White House again. They are asking for the death of our democracy.
 
Right, we should have voted for the guy who:
-Incited an attack on the US Capitol
-Called Pootin a Genius
-Continues to this day to deny he was defeated in November 2020

No one imagined that trump would, a year and a half later, still contend that he won the 2020 Presidential election. It is the greatest value of a constitutional democracy to recognize a smooth and peaceful transition of power. trump has destroyed that asset. He has destroy confidence in our electoral system, solely because he does not want to admit that he lost. He regularly punishes anyone who admits that Biden is President and hurls insults and slanders anyone who acknowledges that the 2020 election was fair. Even after multiple court cases and audit on top of audit proves that Biden won, trump has convince a majority of the repub party that he was cheated in November 2020.

No one has ever seen such of a display of anti-democracy in the United States before. And still, the repub party says, "He is our man if he runs again in 2024." They really want to see the man who tried and is still trying to destroy our electoral system in the White House again. They are asking for the death of our democracy.
You are ranting and ranting against someone who at least had American values in mind as he did his job. How can you look at yourself in the mirror for cheating in an old decrepit vegetable who cant even find his way out of a room much less run the country. You Dim whiners are nutbags.
 
15th post
Remember this


Remember this

But you didn't refute these attached files of different signatures... the only way of verifying a registered vote by mail!
So tell me which is the voter's real signature? Again just for simplicity... One signature is on the voter file, the other is for the same voter on the voter's signature. And remember In 2020, 43% of voters cast ballots by mail or 68 million votes that
required signature verification. Oh and by the way, the credentials of those people verifying signatures?

Election workers eyeball voter signatures on ballots one by one, comparing the loop of an “L” or the squiggle of an “S” against other samples of that person’s writing.
When performed by professionals in criminal cases or legal proceedings, signature verification can take hours.
But election employees in many states must do the job in as little as five seconds.
5 seconds to verify each of the 68 million ballots. Really?

Orign_voter_signatures.png
VoteSignaturefraud.png

signatureverification.png
 
But you didn't refute these attached files of different signatures... the only way of verifying a registered vote by mail!
So tell me which is the voter's real signature? Again just for simplicity... One signature is on the voter file, the other is for the same voter on the voter's signature. And remember In 2020, 43% of voters cast ballots by mail or 68 million votes that
required signature verification. Oh and by the way, the credentials of those people verifying signatures?

Election workers eyeball voter signatures on ballots one by one, comparing the loop of an “L” or the squiggle of an “S” against other samples of that person’s writing.
When performed by professionals in criminal cases or legal proceedings, signature verification can take hours.
But election employees in many states must do the job in as little as five seconds.
5 seconds to verify each of the 68 million ballots. Really?

View attachment 633497View attachment 633498
View attachment 633495
Tell it to the court....oh wait.....IT DID GO TO 60 PLUS COURTS AND LOST. TELL IT TO YOUR HAND. It will be as effective.
 

You know, we used to shy away from and even criticize liars. Now with the trump Big Lie, many are accepting them as possible representatives in our federal government. That is sad....
Did I say Liars?
 

New Topics

Back
Top Bottom